專利侵害之判斷原則-以發明專利及新型專利為中心
文 / 張耕毓 專利師
若某人欲尋求對技術、研究之保護,則此人能依專利法第5、25條之規定提出專利申請。經由經濟部智慧財產局(以下稱智慧局)程序、形式、實體審查專利申請後,若專利申請符合各項規定,智慧局即審定授予專利權,以獲得技術、研究之保護。
而提出專利申請之人,除了欲排除他人未經其同意而實施本身技術之外。另一個目的在於,專利申請人取得專利權後,若有侵害技術之情形發生時,能透過民事訴訟主張專利權,藉以對行為人請求損害賠償。其中,如何判斷被控侵權對象(以下稱系爭對象)有、無侵害專利權就顯得格外重要。
本文藉由大量蒐集相關學說及實務見解,歸納並進行說明,冀望讀者能瞭解專利侵害之概念。
關鍵字:文義讀取、均等論、申請歷史禁反言、先前技術阻卻、貢獻原則、請求項破壞原則、特別排除原則
前言
判斷專利侵害有兩個步驟,其一為請求項之解釋,請求項之解釋規定於專利法第58條第4項(民國111年5月4日):「發明專利權範圍,以申請專利範圍為準,於解釋申請專利範圍時,並得審酌說明書及圖式。」由此可知,我國採取的是折衷主義,既不以說明書之全部記載為依據,亦不以申請專利範圍之文義為其範圍。而判斷專利侵害之第二步驟為解釋後之請求項與系爭對象進行比對。一旦系爭對象完全或均等於解釋後之請求項,則屬於專利侵害。本文後續,將側重於文義侵權與均等侵權之說明。而限制均等論之事項,例如:申請歷史禁反言、先前技術阻卻、貢獻原則、請求項破壞原則、特別排除原則亦一併闡明。
請求項與系爭對象之比對
一、全要件原則(All elements rule)
所謂全要件原則,其係指被控侵權物、方法能相同於申請專利範圍之每一個構成要件(Essential element),即落入申請專利之範圍中。其中,包括文義及實質均等上之表現,始構成侵害。而過去的「專利侵害鑑定基準」中,全要件原則僅適用文義侵權之判斷,但並不適用均等侵權,其於理不合。因此,在新修訂之「專利侵害鑑定要點」中,全要件原則已成為限制均等侵權之其中一項原則。
另有學說歸納出3種認定之態樣,說明如下:
(一)精確原則(Rule of exactness)
如果系爭對象相同於請求項之所有技術特徵,且系爭對象未增、減任何技術內容,即構成專利侵害。舉例來說,系爭對象之技術特徵為A+B+C,請求項之技術特徵亦為A+B+C,即屬之。此外,若系爭對象已經不同於請求項之技術特徵,惟兩者的技術特徵實質上相同,亦應屬於專利侵害。
(二)附加原則(Rule of addition)
若系爭對象「包含」請求項之所有技術特徵,並附加其他技術特徵,無論此技術特徵是否會產生新的功效,應判斷為構成專利侵害。例如:系爭對象之技術特徵為A+B+C+D,請求項之技術特徵為A+B+C。
(三)刪除原則(Rule of omission)
假設系爭對象缺乏請求項中一或多個技術特徵,抑或是系爭對象與請求項之技術特徵實質上不同,即不構成專利侵害。例如:系爭對象之技術特徵為A+B+C,請求項之技術特徵為A+B+C+D。
(四)本文整理出全要件原則之情形,如下表一。
表一
| 請求項 | 系爭對象 | 態樣 | 判斷結果 |
|---|---|---|---|
| A+B+C | A+B+C | 精確原則 | 侵權 |
| A+B+C (上位概念) | a+b+c (下位概念) | 精確原則 | 侵權 |
| a+b+c (下位概念) | A+B+C (上位概念) | 精確原則 | 不侵權 |
| A+B+C (開放式撰寫) | A+B+C+D | 附加原則 | 侵權 |
| A+B+C (半開放式撰寫) | A+B+C+D | 附加原則 (D無實質影響) | 侵權 |
| A+B+C (半開放式撰寫) | A+B+C+D | 附加原則 (D有實質影響) | 不侵權 |
| A+B+C (封閉式撰寫) | A+B+C+D | 附加原則 | 不侵權 |
| A+B+C+D | A+B+C | 刪除原則 | 不侵權 |
二、文義(literally)讀取(read On)
所謂「讀取原則」係指以解釋後之申請專利範圍為基準,將其限制條件(limitation)與系爭對象逐一比對,藉以判斷限制條件是否相同於系爭對象。
另參照臺灣臺中地方法院93年度智簡上字第4號民事判決:「文義(literally)讀取(read on):係確認經合宜解釋後「系爭專利」申請專利範圍中之技術特徵的文字意義是否完全對應表現在被控物件中。(參「鑑定要點」第三十八頁)。在此須附帶說明者為鑑定報告中常使用之用語「落入」(fall within),其實係與「讀取」不同之分析方式。「落入」係指被控物件,落入「系爭專利」範圍之所有限制條件所圍組而成之權利範疇內,乃運用「集合論」解讀;「讀取」則係將「系爭專利」之限制條件(技術特徵或必要元件)「讀至(到)」被控物件之上。」。
三、均等論(Doctrine of Equivalents)
(一)概念
欲以請求項中之文字精確、完整描述申請專利之發明,有其困難之處,因此,為彌補文字表達的侷限性,申請專利範圍並不限於請求項劃界之文義範圍,而得適度地擴張請求項所界定之範圍。
另參照智慧財產法院97年度民專訴字第32號民事判決:「「均等原則」(亦稱「均等論」)之主要目的在於以實質解釋彌補形式解釋之不足,且不以影響技術範圍之安定性為前提。就「均等」之文義以觀,即所謂侵害態樣與發明專利為技術之實質同一,擴張於專利法上之同一技術。」。
(二)三部檢測法(Tripartitle test)
倘若系爭對象與申請專利範圍之請求項,無論在物品上或方法上,兩者係以實質相同方式(way),達成實質相同功能(function),產生實質相同結果(result)。系爭對象即適用均等論,此乃三部檢測法。需要注意的是,必須三個要件皆成立,始構成專利侵害。
(三)輔助判斷原則
隨著科技的日新月異,有時甚難以三步檢測法判斷請求項與系爭對象是否實質相同。因此,有時亦會借助「無實質差異檢測法」、「置換可能性」與「置換容易性」作為均等論之輔助判斷。
1. 無實質差異檢測法(Insubstantial difference test)
無實質差異檢測法係指,縱使系爭對象之技術內容未落入請求項之文義範圍,惟系爭對象與請求項之間僅具有微小的區別,且該區別非有實質性的差異而言。系爭對象仍構成均等侵害。
參照智慧財產法院97年度民專訴字第32號民事判決:「若被控產品之對應元件、成分、步驟或其結合關係與申請專利範圍之技術特徵係以實質相同的技術手段(way),達成實質相同的功能(function),而產生實質相同的結果(result)時,應判斷被控產品之對應元件、成分、步驟或其結合關係與申請專利範圍之技術特徵無實質差異,適用均等論。「實質相同」係指兩者之差異為該發明所屬技術領域中具有通常知識者所能輕易完成者。」。
2. 置換可能性(Interchangeability)
置換可能性(又名為可置換性)係指所屬技術領域中具有通常知識者參酌侵害時之通常知識,若可將請求項記載之技術特徵置換為系爭對象之技術內容,並且不會影響請求項。則請求項與系爭對象有可置換性,系爭對象構成均等侵害。
另參照臺灣臺中地方法院95年度智字第39號民事判決:「被控專利侵權之物品或方法是否可能由申請專利範圍或專利說明書之記載加以修正或改變而獲得,此即所謂「置換可能性」之判斷」。
3.置換容易性
所謂置換容易性,係指所屬技術領域中具有通常知識者參酌專利說明書、申請專利範圍、先前技術,而能輕易推知系爭對象係請求項之簡易變更者,則系爭對象與請求項記載之內容具有同一性,即屬置換容易性。反之,則不具置換容易性。
另參照臺灣臺中地方法院95年度智字第39號民事判決:「被控專利侵權物品或方法,而依據或參酌申請專利範圍或其專利說明書之記載所進行之改變或置換是否容易,此即所謂「置換容易性」之判斷。倘被控專利侵權物品或方法,對其所屬技術領域中具有通常知識之人士而言,依據專利說明書或申請專利範圍之揭露,以進行此種改變或置換係屬可能且容易,亦即具備「置換可能性」與「置換容易性」時,其即屬該申請專利範圍所載之專利技術均等之範疇,而應被認定為構成專利侵權。」。
(四)限制
1.申請歷史禁反言(Prosecution history estoppel)
申請歷史禁反言(又名為禁反言原則或申請檔案禁反言原則)係指申請專利至維護專利權之階段中,例如:專利申請、申復、舉發或行政救濟等,申請人於申復書、答辯書、補充說明、修正文件、更正文件等文件中,申請人明確表示排除或放棄申請專利範圍之部分,嗣後不得重新主張均等論而言。
另參照臺灣高等法院臺中分院97年度智上易字第4號民事判決:「禁反言原則:若待鑑定對象適用「均等論」,而其適用部分係專利權人已於申請至維護專利之過程中放棄或排除之事項,則適用「禁反言」。申言之,申請專利範圍為界定專利權範圍之依據,一旦公告,任何人皆可取得申請至維護過程中每一階段之文件,基於對專利權人在該過程中所為之補充、修正、更正、申復及答辯的信賴,不容許專利權人藉「均等論」重為主張其原先已限定或排除之事項。因此,「禁反言」得為「均等論」之阻卻事由,係防止專利權人藉「均等論」重為主張專利申請至專利權維護過程任何階段或任何文件中已被限定或已被排除之事項。另外,專利說明書中述及該專利所欲排除之「習用技術」,亦可用以協助特定該專利保護之範圍。」。
2.先前技術阻卻
假設專利權人欲以均等論後之請求項,來涵蓋先前技術或其與專利申請時之通常知識能簡單組合之部分,將有侵犯公眾利益之疑慮。而為了平衡專利權人與公眾之利益,必須限制申請專利範圍之均等界線。深入來說,專利權人不得藉由均等論擴大後之請求項,來涵蓋先前技術,此即先前技術阻卻。
另參照智慧財產法院98年度民專上易字第16號民事判決:「先前技術係屬公共財,為社會公眾所共享,無由容許專利權人藉由均等論而恣意擴張其專利權之權利範圍至先前技術之公共財領域,此即「先前技術阻卻」。(2)於專利侵權判斷時,如待判斷對象適用「均等論」,行為人得舉證證明待判斷對象與先前技術相同,或雖不完全相同,但為該先前技術與所屬技術領域中之通常知識的簡單組合,而適用「先前技術阻卻」。如經判斷待判斷對象確有「先前技術阻卻」之適用時,待判斷對象即未落入專利權範圍,「先前技術阻卻」得為「均等論」之阻卻事由;如認待判斷對象並無「先前技術阻卻」之適用時,待判斷對象即落入專利權之均等範圍。」。
3.貢獻原則(Dedication rule)
所謂貢獻原則(亦可稱為說明書禁反言),係指專利說明書及圖式有記載某項技術特徵,然而該技術特徵卻未記載於請求項,其應視為公共財產貢獻予社會大眾,亦即不得藉由均等論擴張請求項之範圍。舉例來說,請求項記載A+B技術特徵,專利說明書記載A+B及A+C技術特徵,而系爭對象的技術手段為A+C。因請求項僅描述A+B,而未記載A+C的技術特徵,縱使B與C兩者實質相同,A+C的技術特徵仍應視為貢獻予社會大眾,此即貢獻原則。
另參照智慧財產法院105年度民專上字第13號民事判決:「按貢獻原則亦係基於平衡專利權人與公眾利益而限制專利權的均等範圍,若專利權人於系爭專利申請時之說明書或圖式中揭露較多的技術手段,卻於請求項中申請較少的技術手段,於侵權訴訟時再藉由均等論擴大後之範圍而欲涵蓋說明書或圖式中已揭露之較多的技術手段,若認定適用均等論,將導致專利權人於專利申請階段與侵權訴訟階段主張之專利權範圍不一致,亦與請求項為界定專利權範圍之作用有所不符。」。
4.請求項破壞原則(The claim vitiation rule/The claim vitiation doctrine,簡稱CVD)
請求項破壞原則(又名為請求項構成要件失效原則)係指依據全要件原則,均等論僅能適用於技術特徵受「置換」(substituted)的情形,惟並不適用於技術特徵被「消失」(missing)的情況,其旨在防止均等論的不當擴張。例如:請求項之技術特徵為A+B+C+D,其中,C具有C1、C2,D具有D1、D2,專利權人不得將請求項破壞為A+B+(C1+C2+D1)+D2,並將其比對為系爭對象之產品、方法,此舉無疑是違反申請專利範圍之限定。
另參照智慧財產法院99年度民專上更(一)字第12號民事判決:「按專利侵害鑑定比對時,若必須破壞請求項之界定(例如使某一技術特徵消失),始能使系爭產品對應系爭專利請求項所載之技術特徵,則不適用均等論,而此種破壞某一請求項或申請專利範圍之界定行為,學理上稱之為請求項破壞原則(the claim vitiation doctrine, CVD )。所以將「破壞請求項之界定範圍」排除於均等論之適用,其目的在於防止權利人利用此種方式解釋其申請專利範圍,將顯然存有差異之他人物品,納入所謂均等範圍,進而主張構成均等,侵害專利權,此種原則之適用,於美國法院實務上頗為習見(Warner -Jenkinson Co. v. Hilton Davis Chem. Co . ,520 U.S. 17,39 1997 )。」。
5.特別排除原則(Specific exclusion principle)
特別排除原則(又名為意識限定原則)指的是專利權人不得主張申請專利範圍明示或暗示特別排除之內容,為其均等範圍。亦即申請專利範圍一經負面表示,則專利權人不得重拾已排除之記載,主張其屬於均等範圍。舉例來說,特別表示的文字有「內v.s外」、「大v.s小」、「正v.s負」、「強v.s弱」、「黑v.s白」等。
另參照智慧財產法院99年度民專上更(一)字第12號民事判決:「次按申請專利範圍中某一技術特徵經申請人特別限定其意義或經特別描述時,其所賦予之特別意義或所描述之範圍,將限制申請人於取得專利後,透過均等之解釋擴張其意義或所描述之內容,此稱之為特別排除原則(specific exclusion principle ;Bicon , Inc. v. The Straumann Co., Fed.cir. 2006, 05-1168),又稱意識限定原則,換言之,在此等情形下,則可限制或阻卻均等論之適用。......若上訴人認為元件位置之置換係可輕易完成時,即應避免使用相對之二元選項用語(binary,例如系爭專利所使用之「內、外」,或「陰、陽」、「正、負」等字詞),或應將可預期之實施方式記載於說明書,亦即描述若干可能之置換方式,據以支持申請專利範圍中上位概念用語之界定,或至少在維護申請專利之過程中不宜有扞格之主張,否則即應有特別排除原則之適用。」。
案例分析
一、請求項
一種刀輪保持具,其中:
一端具有沿著該刀輪保持具之中心軸且具有相對向之2個內壁之缺口、相對該缺口呈垂直方向同軸形成之銷槽、插入該銷槽之銷、及插入該缺口並藉由該銷安裝成旋轉自如之劃線形成用刀輪;
另一端具有安裝部,以形成傾斜部的方式於一面切削形成;
該另一端的至少一部分係以磁性體構成;
包含該傾斜部之面形成為與該銷槽平行。
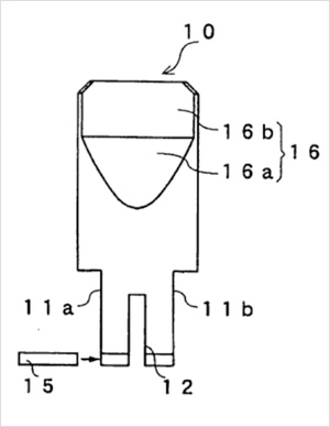
請配合參閱圖一至圖三所示。(元件符號:10‧‧‧刀輪保持具、11a、11b、16b‧‧‧平坦部、12‧‧‧缺口、13‧‧‧銷槽、15‧‧‧銷、16‧‧‧安裝部、16a‧‧‧傾斜部、17‧‧‧2維碼)
圖一
圖二
圖三
本文亦整理請求項之要件,如下表二。
表二
| 請求項之要件 | |
| 1A | 一種刀輪保持具,其中:一端具有沿著該刀輪保持具之中心軸且具有相對向之2個內壁之缺口 |
| 1B | 相對該缺口呈垂直方向同軸形成之銷槽 |
| 1C | 插入該銷槽之銷、及 |
| 1D | 插入該缺口並藉由該銷安裝成旋轉自如之劃線形成用刀輪 |
| 1E | 另一端具有安裝部,以形成傾斜部的方式於一面切削形成 |
| 1F | 該另一端的至少一部分係以磁性體構成 |
| 1G | 包含該傾斜部之面形成為與該銷槽平行。 |
二、系爭對象
假設請求項與系爭對象經判斷後,兩者之差異在於1B、1C、1G之技術特徵。深入來說,請求項描述的是「銷槽」,而系爭對象則為「銷孔」,兩者之分析如后節。
三、分析
由於1B、1C、1G要件皆為「銷槽」與「銷孔」之討論,故本文以1B要件為例,並如表三所示,茲分析如下:
表三
| 項目 | 請求項 | 系爭對象 | 判斷結果 |
|---|---|---|---|
| 差異部分 | 相對缺口呈垂直方向同軸形成之「銷槽」 | 相對缺口呈垂直方向同軸形成之「銷孔」 | 未落入文義範圍 |
| 技術手段 | 缺口的壁面開設容置結構「以容設銷」 | 置換可能性:所屬技術領域中具有通常知識者,應可透過簡單改變,而將銷槽修改為銷孔,「以容設銷」 | 實質相同 |
| 技術功能 | 使銷定位在與缺口垂直的方向,「作為刀輪的轉軸」 | 使銷定位在與缺口垂直的方向,「作為刀輪的轉軸」 | 實質相同 |
| 技術結果 | 設置於缺口內的刀輪「以銷為轉軸進行旋轉」 | 設置於缺口內的刀輪「以銷為轉軸進行旋轉」 | 實質相同 |
| 分析結果 | 系爭對象構成均等侵權 | 實質相同 | |
結論
總結來說,請求項與系爭對象須經由文義讀取及均等論之判斷,方能認定系爭對象有、無專利侵害。其中,欲將請求項之文字讀取至系爭對象之產品、方法,有其困難之處。因此,一般專利侵害係成立均等侵權之情形居多。而限制均等論之事項,如:申請歷史禁反言、先前技術阻卻、貢獻原則、請求項破壞原則、特別排除原則等,於均等論之判斷時,亦應一併注意。
以上,藉由本文之說明及分析,冀望讀者已能瞭解專利侵害之概念。
一、書籍
1. 楊智傑,專利法,2014年9月。
2. 經濟部智慧財產局,專利侵權判斷要點,2016年2月。
3. 顏吉承,專利說明書撰寫實務,2021年3月。
二、期刊
1. 林發立,「均等論」行不行,智慧財產權,44期,2002年8月。
2. 羅炳榮,專利侵害鑑定(上),智慧財產權,59期,2003年11月。
3. 顏吉承,淺談發明及新型專利權範圍侵害判斷(上),智慧財產權,88期,2006年4月。
4. 陳啟桐,專利判決解析申請專利範圍解釋(下),專利師,4期,2011年1月。
5. 顏吉承,均等論與均等論之限制-以最高法院103年度台上字第1843號判決所涉及之眼罩案為中心,智慧財產權,199期,2015年7月。
三、 學位論文
1. 林洲富,專利侵害之民事救濟制度,國立中正大學法律所博士論文,2007年。
2. 王瓊忠,專利侵害判斷之研究-以均等論下之先前技術阻卻研究為中心,國立雲林科技大學科技法律研究所碩士論文,2009年。
3. 邱昭中,專利間接侵害之研究,國立雲林科技大學科技法律研究所碩士論文,2010年。
4. 吳俊龍,我國法院審理專利侵權訴訟實務之研究-以第一審為中心,國立政治大學法律學院碩士論文,2011年。